{{ v.name }}
{{ v.cls }}类
{{ v.price }} ¥{{ v.price }}

出品:创业最前线
4月4日消息,牛气了(无锡)科技有限公司在今年3月30日获得了蒙牛产业基金领投的100万元天使轮投资。据悉对于此次融资的资金使用,牛气了(无锡)科技有限公司将会用于技术研究和新品宣发等方面。
牛气了(无锡)科技有限公司成立于2022年8月9日,公司创始人兼法人代表名叫袁龙,据报道他曾供职于蒙牛集团,主导过蒙牛多个10亿级大单品品牌的开发和管理。
该公司的核心成员中还有艾地广告的李玉海,据天眼查显示,他是广州艾地广告有限公司的监事。
盖是英雄品牌主打益生菌气泡饮料产品,采用菌液分离技术,消费者在喝这款产品之前,可以通过转动盖子使盖中的活菌片掉入饮料中,从而达到补充益生菌的效果。据FoodTalks食品资讯报道,这款产品还曾与每日的菌一起研发。
实际上盖是英雄与每日的菌两个品牌的关系不止是合作研发产品,据天眼查显示,每日的菌的关联公司精致能量(无锡)科技有限公司持有牛气了(无锡)科技有限公司15%的股份,而且每日的菌的创始人杨利敏还在担任牛气了(无锡)科技有限公司的监事。
而且杨利敏在创办每日的菌品牌之前也曾在蒙牛公司工作过,她负责的是“低温明星品牌的产品及创新板块”。
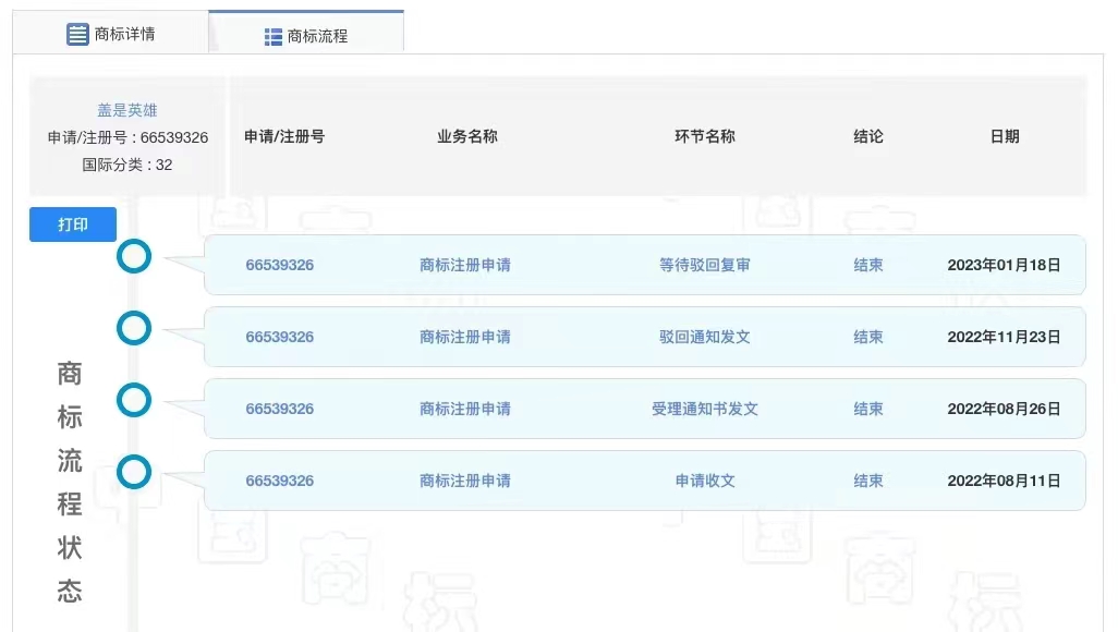
其实盖是英雄这个品牌目前还没有申请下商标来,据天眼查显示,牛气了(无锡)科技有限公司申请过8个商标,其中4个为“GAIHERO”的不同分类,分别是啤酒饮料类、方便食品类、医药类和食品类。这4个商标的申请日期是2022年9月15日,商标状态是“商标申请中”。
而2022年8月11日,该公司还曾申请过“盖是英雄”4个分类的商标,目前商标状态处于“等待实质审查”,而在国家知识产权局商标局的网站上显示,盖是英雄的相关商标,已经进入了“等待驳回复审”状态,最近的一个商标状态更新日期是在2023年1月18日。

因此目前盖是英雄在其官微上的图片,在“盖是英雄”四个字旁边带着一个“TM”的标志,意为商标正在申请中,但还未注册成功。
另外,国内还有一家做茶饮的公司,名叫盖是饮料(上海)有限公司,这家公司在官微上宣传称是“盖泡茶的开创者,中国创新无糖盖泡茶饮品牌的代表之一”,他们官微在2023年2月25日发文宣布,其品牌形象人物也叫“盖是英雄”,他们在宣传“盖是英雄”的时候,后面加的是“”的符号,意思为受版权保护。
尽管盖是茶做的是无糖盖泡茶,与牛气了(无锡)科技有限公司做的益生菌气泡饮料有一定的区别,但盖是茶所提到的“分离式盖泡茶技术”,与后者的“菌液分离技术”有一定相似之处,都是在饮品盖上加入了其他成分,用户开盖之前,可以通过一定的动作使茶粉或菌液混入瓶中的液体。
区别是盖是饮料(上海)有限公司采用的是向下按压瓶盖的方式让两种物质混合,而牛气了(无锡)科技有限公司采用的是宣传瓶盖的方式。
盖是茶在2022年11月底曾宣布AKB48 Team SH为其代言,并且今年也喊出了新目标,他们想要在截至2023年6月30日的3个月内实现4000万销售额。目前产品已经出海,首站在马来西亚市场。而盖是茶的长期目标是“用5年时间达成帮助全国百强茶县卖茶超过100亿元”
未来牛气了(无锡)科技有限公司与盖是饮料(上海)有限公司之间是否会因为“盖是英雄”这个名词有知识产权之争,也有待进一步观察。