{{ v.name }}
{{ v.cls }}类
{{ v.price }} ¥{{ v.price }}
“人红是非多”,元气森林火了之后,市面上也出现了不少“搭便车”的山寨产品。

近日,山东德州人民法院接到一起起诉书,称有人销售侵权产品。被告侵权产品的“元汽森林”包装与原告产品“元气森林”的包装十分相似,能使广大消费者产生混淆。
两者在包装设计上高度相似,只是将“气”变成了“汽”,整体包装看上去与原版并无明显区别,消费者稍不注意就会踏入假冒产品的消费陷阱。
最终经过法院调解,被告厂家均同意停止生产、销售涉案侵权产品,并赔偿原告一定数额的经济损失。
元气森林成功之后,不少山寨产品如雨后春笋般冒出来,纷纷想复刻延续这种成功,这些商家推出的气泡水外包装的画风上和元气森林也都大同小异。

近几年,元气森林已对数十家山寨产品的生产及销售商提起了侵权诉讼,其中包括对“元氣森林”“亲亲元气”等山寨产品的诉讼。
2021年,北京元气森林起诉两个山寨燃茶的侵权主体尚品习饮(北京)食品有限公司、吉林省韵丰饮品有限公司侵犯元气森林注册商标专用权,获赔55万元。
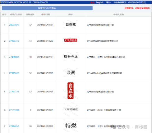
那么,元气森林屡次遭到侵权,却又次次精准打击山寨,最终成功维权的关键是什么呢?通过查看元气森林这一系列成功维权的案例,并不难发现,元气森林仰仗于早年完善的商标布局。

据查询,截至2024年,元气森林食品科技集团有限公司递交的商标申请有7507个。由此可见元气森林对商标注册的重视程度。比如“气”字旁的“氰”“氠”“氮”“氦”“氯”“氪”“氛”等,均已经申请注册商标,不管有没有生产此名称的产品,商标都先安排上,构建完整的商标防御护城河,从源头上抑制山寨产品的生产。
企业要发展,就应提早做好商标布局,就和“元气森林”一样,一方面,要提前布局全类商标、品牌关联名称商标,从品牌源头遏制山寨行为;另一方面,果断通过法律武器维护自身合法权益,给山寨者以实质性警示!