首页
热
商标 · 知产
仅收400元
智能LOGO
New
买商标
明码标价
卖商标
免费发布
免费商标
免费使用
logo设计
588元
短信服务
New
工商财税
免费注册
官微建站
免费建站
域名注册
域名交易
商标注册
自助注册
保姆注册
担保注册
国际商标
商标智能取名
商标查询
综合查询
近似查询
图形查询
公告查询
商标分类表
商标交易
精品商标库
发布商标
持有人管理
免费授权服务
商标公证
商标转让文书
商标服务
商标续展
商标转让
商标注销
商标变更
商标证补发
商标撤三申请
商标驳回复审
商标无效宣告
商标许可备案
版权服务
美术著作权
文字著作权
软件著作权
其他著作权
商标 · 知产问题
更多>>
化妆品商标所在的类别
同名商标注册:跨类别注册
商标未及时续展有什么风险
现在国家规定禁止使用驰名商标字样,那产品包装上是否可以标注著名品牌或知名商标字样?
商标代理机构备案、变更及注销常见问题解答
国际商标转让
美国商标转让
国际商标转让
日本商标转让
国际商标转让
德国商标转让
免费使用商标
国人商标免费授权
非童小可免费授权
朝童天下免费授权
weleda免费授权使用
芭黎贝甜商标免费授权
注册商标服务
直接注册商标
直接买卖商标
我有商标续展
商标被异议
商标需要过户
商标注册常见问题
商标九大骗局
商标注册知识
商标注册问题
版权注册知识
法律保护知识
免费商标问题
更多>>
化妆品商标所在的类别
同名商标注册:跨类别注册
商标未及时续展有什么风险
现在国家规定禁止使用驰名商标字样,那产品包装上是否可以标注著名品牌或知名商标字样?
商标代理机构备案、变更及注销常见问题解答
工商注册
品牌资质查询
公司注册
公司变更
公司注销
地址托管
国际公司注册
财税服务
代理记账
财务外包
社保代理
社保开户
资质认证
高新认证
代办ICP许可
食品流通许可证
政府补贴申报
营销服务
短信服务
网站建设
工商财税问题
更多>>
住宅可以作为注册地址吗?
公司应该如何取名?
公司注册的流程是什么?
刚注册的公司什么时候开始缴税?
代理记账一定是当月发票吗?
官微建站
立即创建
行业模板
用户案例
网站管理
我的网站
去除版权
绑定域名
高端定制
定制官网
官微建站问题
更多>>
商户如何配置支付宝支付
如何设置微信登录
商户如何配置微信支付
如何让多个管理员管理网站?
文章管理
国际域名
.com
.net
.biz
.info
.mobi
国内域名
.cn
.com.cn
.net.cn
.中国
.公司
.网络
新顶级域名
.top
.vip
.ltd
.club
.link
.shop
.group
.site
.pub
.live
域名服务
域名转入
域名价格
whois查询
批量查询
域名交易
精品域名
发布域名
我的域名
域名注册问题
更多>>
什么是域名解析?
如何转出域名?
如何转入域名?
用户如何选择合适的域名?
首页
行业快报
胖都来被迫改名为“盈都来”
胖都来被迫改名为“盈都来”
阅读:53353
2025-05-20 17:35:21
来源:资产库
作者:淘标
5月20日,浙江海宁原“胖都来”商场,已将名字更改为“盈都来”。
根据网友发布的视频显示,在商场外墙上,
红色的“
胖都来
”三个字已更为“盈都来”。
目前,地图显示商场名字已同步更改,显示曾用名为“胖都来”。
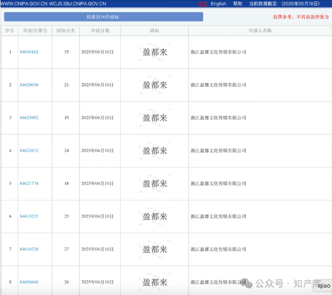
“盈都来”商标4月10日已经申请:
“盈都来”商标申请人与胖都来商场是关联公司,法定代表人为同一人。
对此,胖都来超市人员表示,超市现已确定改名为“盈都来”。“盈”字来自集团“盈中控股”,和集团名字有关。
前序纠纷告一段落,商业模式及服务拭目以待~
上一篇:
知识产权如何“变现” 解码明月湖专利转化新路径
下一篇:
【一文看懂】匈牙利商标异议制度
相关文章
{{ v.title }}
{{ v.description||(cleanHtml(v.content)).substr(0,100)+'···' }}
你可能感兴趣
{{ cleanHtml(item.title) }}
推荐阅读
更多>
{{ item.title }}
推荐商标
{{ v.name }}
{{ v.cls }}类
{{ v.price }}
¥{{ v.price }}
立即购买
联系客服