{{ v.name }}
{{ v.cls }}类
{{ v.price }} ¥{{ v.price }}
近期,娃哈哈处于一个极高的热度之下,也是处于风口浪尖,抛开别的不说,今天我们从商标角度看一看娃哈哈的发展历程。
起始
1988年娃哈哈经典图文商标注册,类别集中在五类,对标产品是娃哈哈营养液。

娃哈哈这个名字由来据说是通过公开征集而来。到最后被定为了“娃哈哈”,原因有三:一是好读好记,小孩子容易接受。二是它能形象地表现小孩子得到娃哈哈后的开心喜悦之情,很乐观积极。三是有一首广为流传儿歌叫《娃哈哈》。
《娃哈哈》是作曲家石夫在新疆工作时结合西部民歌为孩子们创作的儿歌,并且登上过春晚舞台,也让娃哈哈蹭了一波热度,不过在那个物资虽然匮乏但是思想淳朴的年代,并没有发生版权之争。
发展
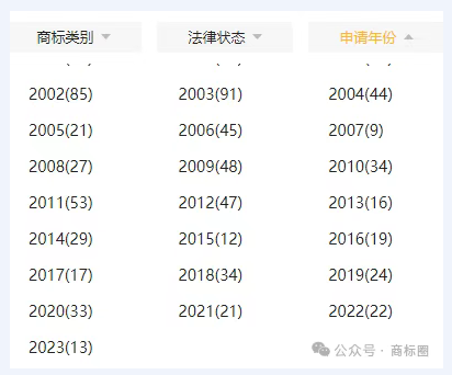
随着娃哈哈产品的火爆,品牌知名度打响,商标发展进入爆发阶段,从1990-1995几年间商标注册量从个位数,激增到数百个。

这个阶段的商标主要还是集中在娃哈哈品牌本身,以及扩大保护范围,做好商标防御。
把娃哈哈这个商标从开始的食品饮料领域,扩大到了服装,家具,金融,加工,运输,通讯,教育等更多领域。

为了预防被仿制抄袭,维护商标权益,同时还申请了大量的近似商标做好自己的商标长城。不然等知名度越来越大,自己不去注册不去保护,商标品牌也将会被抢注、被滥用,自己也会陷入无尽的知产纠纷当中。

稳定
从1996年娃哈哈两款经典产品,纯净水和AD钙奶两个产品问世,品牌发展进入快车道,商标发展也逐渐多元。


这个阶段注册量不是最多的,但是商标的花样却是最多的,不管是从名字还是类别,可以从商标看出公司的发展进入多元化的探索时期,这里面大家最熟悉的就是“非常”。这也是后面和可口百事两家国际巨头抗争过的娃哈哈非常可乐。
危机
发展到能与国际巨头抗争的娃哈哈,不可避免地进入到了国际资本的视野内,也成为了国际资本绞杀国内民族企业的重点对象之一。
法国达能公司最近欲强行以40亿元人民币的低价并购杭州娃哈哈集团有限公司总资产达56亿元、2006年利润达10.4亿元的其他非合资公司51%的股权。达能提出将“娃哈哈”商标权转让给与其合资的公司,但遭到国家商标局的拒绝,因此后来双方改签了一份商标使用合同。
宗庆后先生和达能合作时候提出的约法四章:第一,品牌不变;第二,董事长的位置不变;第三,退休职工待遇不变;第四,45岁以上职工不许辞退。
因为多项问题迟迟不能达成一致,终于在07年,双方达成和解,达能从娃哈哈撤资退出。这个操作作为今天的我们回头来看,娃哈哈这个品牌已经是在鬼门关走了一圈,因为不难发现这就是国际资本绞杀中资企业,中资品牌的常用手法。
如果一个经营消费品企业失去了商标的控制权,也就失去了最大的资本。
沉淀
娃哈哈经历一系列外资并购纠纷后,也逐渐找到属于自己的发展之路,不融资不上市,也没有扎进火热的房地产,金融,新能源等相关行业。在自己的领域一直持续稳定地经营。

这一阶段商标种类数量不断完善,产品线不断更新,虽然存在很多挑战但是依然稳定发展逐步沉淀。

这场纠纷恰逢娃哈哈转型关键期。当血脉与财富纠缠,这家承载着民族情感的企业,能否在动荡中风光如旧,答案仍在未知中沉浮。无论如何,希望下一代童年记忆里面有更多知名商标,民族品牌。