{{ v.name }}
{{ v.cls }}类
{{ v.price }} ¥{{ v.price }}
最近,网络被一则重磅消息刷屏:少林寺住持释永信被调查。一时间,各大社交平台炸开了锅,网友们纷纷化身“福尔摩斯”,讨论得热火朝天。相关话题迅速登上热搜,各种猜测、传言铺天盖地而来。

抛开此次事件不谈,我们可以看看释永信对少林寺在商业方面的影响。1999年,34岁的释永信荣升少林寺方丈,此后,他继续推动少林寺的现代化发展,2008年开通少林寺淘宝店铺,将少林文化与电商相结合,拓展了少林寺的商业版图。在他的带领下,少林寺逐渐从一座传统的寺庙,发展成为一个集文化、旅游、商业等多元产业于一体的文化符号。

在释永信的领导下,少林寺的商标布局方面表现出惊人之举,展现出其在品牌保护和商业发展方面的深谋远虑。

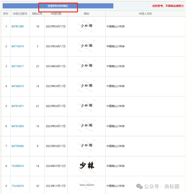
从1997年起至今,少林寺申请的商标多达900余枚,其数量之多令人咋舌。这些商标涵盖范围极广,像我们熟知的“少林”“少林寺”“少林功夫”等都在其中。而且,少林寺在商标注册时,有些甚至是全品类注册。要知道,商标注册时有45个类别可选,各类别下又有细分,这意味着少林寺的商标布局几乎渗透到了商业的各个角落。如此广泛的商标申请,充分体现了少林寺对品牌全方位保护的决心,也为其商业发展奠定了坚实的法律基础。

更让人意想不到的是,少林寺将“东少林”“南少林”“西少林”“北少林”全部注册成功。在很多人的认知里,“南少林”常指福建的南少林寺,“北少林”即嵩山少林寺,而东少林和西少林也在一些传说和文化作品中有一定的提及。嵩山少林寺这一注册行为,引发了不小的争议。从品牌保护的角度来看,这确实有助于防止其他机构或个人利用这些名称进行商业活动,避免对少林品牌造成混淆和损害。
回到此次释永信被调查事件,无疑给少林寺的发展蒙上了一层阴影,也让其商标布局和商业运营面临诸多不确定性。虽然之前少林寺已经完成了大量的商标注册,但此次事件可能会影响到其商标的后续维护和拓展。
少林寺未来的发展充满挑战,但也并非没有机遇。如果能够妥善处理此次事件,积极进行改革和调整,少林寺依然有望在宗教与商业、传统与现代之间找到平衡,实现可持续发展。我们也期待着少林寺能够早日走出困境,继续传承和弘扬少林文化,为中国传统文化的发展做出更大的贡献。