浪浪山小妖怪不能注册,不是因为妖怪

阅读:404 2025-08-13 09:14:36 来源:知产库 作者:淘标网
8月11日11时,动画电影《浪浪山小妖怪》累计票房突破5.74亿元,超过《大鱼海棠》5.73亿元,登顶中国国产二维动画电影票房冠军。🏆
然而,浪浪山小妖怪的权利人上海电影(集团)有限公司从没有成功注册过浪浪山或浪浪山小妖怪。别问为什么,问就是:孩子看乐子,大人照镜子。🪞
你到底想要什么”“我想活成自己喜欢的样子”,那为什么浪浪山小妖怪商标不能注册,难道是因为“小妖怪”有不良影响?真不是。
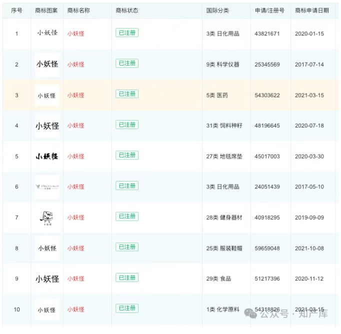
注册成功的“小妖怪”商标有一堆:

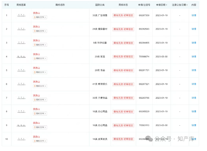
有没有申请过“浪浪山”商标呢?

相同的浪浪山商标,被申请过118遍,但是都被驳回了。

往前一查,原来是上海电影集团的关联主体上海美术电影制片厂和哔哩哔哩联合出品的《中国奇谭》2023年1月1日在B站播出,就有了浪浪山的故事。
其实,上海电影集团2013年1月自己也申请了14件“浪浪山”商标。
可是,但是,同样全军覆没。
以第41类为例:

被驳回的项目包含:通过互联网方式提供的电子游戏服务、动画片制作服务、视频制作、广播和电视节目制作等。

浪浪山不能注册,肯定不是因为妖怪,那么是什么原因驳回的呢?
第41类69287321号“浪浪山”商标被驳回,与之一起驳回的还有十三个“浪浪山”,上海电影集团依然决然的提出了复审。
根据商评字[2023]第0000342198号驳回复审决定书,国知局认为:
申请商标中“浪浪山”为网络流行词汇,指定使用在第41类教育等服务上,不易被相关公众作为区分服务来源的标识加以识别,缺乏商标应有的显著特征。申请人提交的在案证据不能证明申请商标经过使用已具备显著特征。因此,申请商标已构成《中华人民共和国商标法》第十一条第一款第(三)项规定的情形。

缺乏显著特征是不是没得救了呢?说不定还有机会。

有原则往往就有例外。违反《商标法》第11.1.3条款的情形,也有例外条款第11.2款:

“前款所列标志经过使用取得显著特征,并便于识别的,可以作为商标注册。”

因此,借着《浪浪山小妖怪》马上超过6亿的票房,借着登顶中国国产二维动画电影票房冠军的东风,上海电影集团提交新的证据,或许会有惊喜!
 
一般人我不告诉他~

其实,“我们都是Nobody,但又何尝不是某些人的Somebody”。

相关文章
{{ v.title }}
{{ v.description||(cleanHtml(v.content)).substr(0,100)+'···' }}
你可能感兴趣
推荐阅读 更多>
推荐商标

{{ v.name }}

{{ v.cls }}类

立即购买 联系客服