{{ v.name }}
{{ v.cls }}类
{{ v.price }} ¥{{ v.price }}
天气渐凉,转眼已经进入秋天了,社交平台关于“秋天第一杯奶茶”的营销也铺天盖地袭来了,说起奶茶就不得不提今天要说的这个品牌了,就是在上海起家的网红奶茶品牌——沪上阿姨。小编作为一个知产人,自然是要对“沪上阿姨”的商标一探究竟。

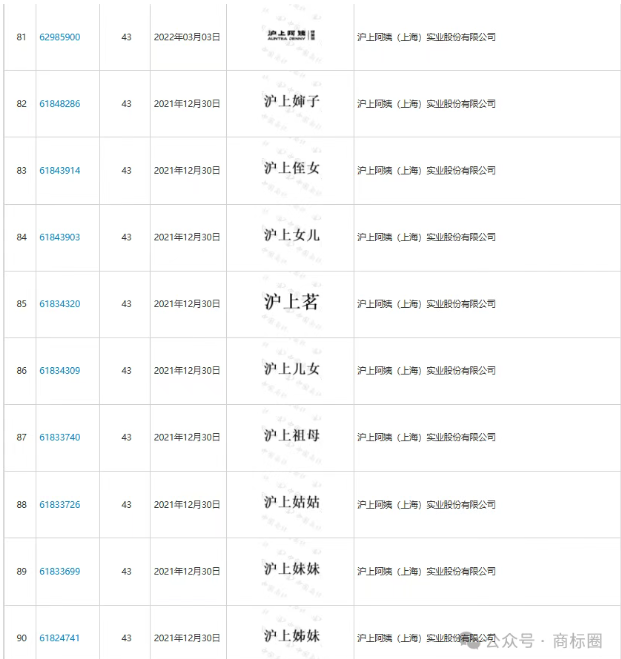
不得不说,“沪上阿姨”这个商标名,很容易像“老干妈”一样被侵权。“沪上阿姨”作为一个蓬勃发展的茶饮品牌,在商标上的布局自然也十分缜密,据悉,此前上海臻敬实业有限公司已注册多枚“沪上姨父”“沪上祖母”“沪上妈妈”“沪上侄女”“沪上婶子”“沪上姑姑”“沪上外甥”“沪上亲戚”等商标。

沪上阿姨品牌在2013年创立初期,就申请注册了商标,至今研发多种果茶新品,名下有1600余个商标,且大多都已经注册成功。品牌从初创发展到现在,也没有停止注册商标保护商标的脚步。
在知产行业有这样一句话:没有商标的品牌近乎于“裸奔”。比如茶饮行业鹿角巷、答案茶都是被山寨拖垮的案例。如果品牌都能及时做好商标布局好监控,很多侵权事件都可以避免。
看到这大家是不是也就明白沪上阿姨为啥要发展“沪上一家人”的商标了。其实这种注册防御商标来进行品牌保护的手段在很多品牌中是非常常见的,也包括咱们之前分享过的,老干妈的商标护城河,王老吉的各种**吉商标等。
茶饮品牌被搭便车的现象频发,为了防止像鹿角巷那样被山寨后维权无门,沪上阿姨选择战略性注册防御商标实在是明智之举。
注册防御商标对一些商标具有独创性,宣传广告投入巨大,力求创立驰名品牌形象的企业来说,具有实质性的战略意义。通过注册防御商标实现未雨绸缪,防御商标注册后,也应巧妙利用,这样才能够真正实现对企业品牌。