{{ v.name }}
{{ v.cls }}类
{{ v.price }} ¥{{ v.price }}
在田间地头搭建的舞台上唱了四年戏,终赢得400万粉丝,一招不慎未及时进行商标保护,却发现自己的舞台名字竟成了别人的商标,即使改名也逃不过对方的侵权诉讼,一场持续三年的法律拉锯战自此拉开帷幕。
2019年11月,戏曲艺人齐选杰注册了抖音账号“麦田乡音”。
2020年3月,齐选杰与母亲合作发布了第一条短视频,作品一夜之间获得数万点赞和数百万播放量。之后,一家人八口齐上阵,将传统戏曲与现代生活相结合,让戏曲内容更易被观众理解和接受,逐渐将“麦田乡音”打造成了一个拥有400多万粉丝的戏曲传承品牌。

2022年2月,随着账号影响力不断扩大,齐选杰正式以“麦田乡音”为名注册了一家文化传媒公司,致力于个人互联网直播服务和营业性演出。他没想到的是,这个自己用了将近三年的名字,竟带来一系列法律纠纷。

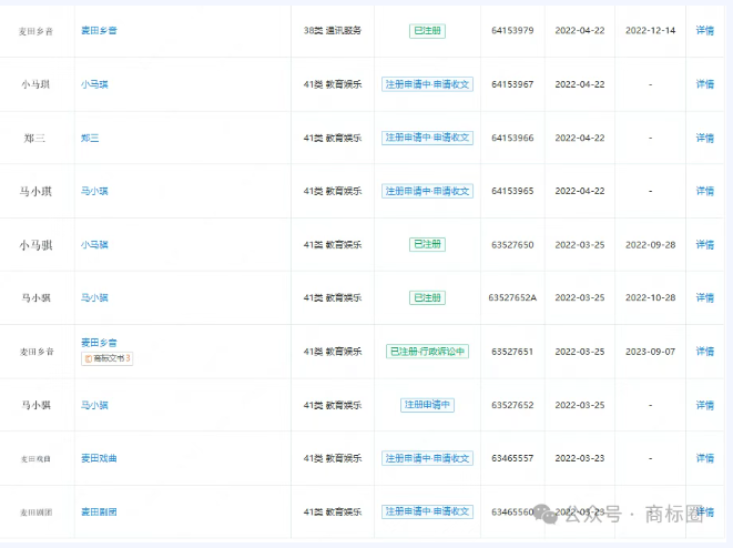
在齐选杰公司成立仅仅一个月后,2022年3月23日,远在北京的一家公司向国知局递交了“麦田乡音”的商标注册申请。

不仅如此,该公司还申请注册了与“麦田乡音”名称相近的“麦田剧场”“麦田剧团”“麦田戏曲”以及与多名戏曲同行艺名相似或相同的商标。

对此,齐选杰选择对该北京名下的相关商标采取相应措施,2022年9月,他向国家知识产权局提交异议申请,却因“证据不足,无法证明名称具有一定社会知名度和影响力”被驳回。此后,齐选杰先后四次发起商标无效宣告请求,均以同样理由被驳回。

2023年底,该公司以商标侵权为由将齐选杰的抖音账号投诉至相关平台,导致“麦田乡音”账号多次下架,直播也被迫中断。
原来的名称用不了,无奈之下,齐选杰只能先将账号名称改成了“麦田乡馨”。并于2024年3月,向国知局递交了“麦田乡馨”的商标注册申请,不过该商标并未成功注册。

让人意想不到的是,就在齐选杰递交申请后不到一个月,2024年4月23日,北京这家公司也对这个新名字“麦田乡馨”,递交了申请注册商标材料,并最终获准注册。

而此时,该北京公司却在抖音上注册了“麦田乡音”账号,并声称是“麦田乡音”唯一官方客服,承接“演出”“麦田乡音”品牌授权与加盟等业务。

2024年4月,齐选杰整理了从账号创立初期的第一条曲剧视频、历年粉丝增长数据,到地方文化部门的表彰记录和粉丝留言证言等近百份材料,并委托律师在北京提起民事诉讼,请求确认自己使用“麦田乡音”作为抖音账号名称不侵犯被告公司的商标权。
一边是百万粉丝的短视频账号,一边是他人手中的商标注册证,当名字的“使用在先”碰上“注册在先”,法律会站在哪一边?
法院审理认为,齐选杰不仅通过该短视频账号进行直播带货,更多的是发布戏曲、戏剧演出视频等,在此期间使用该标志属于在演出服务上进行使用。
2025年3月24日,法院作出一审判决,确认齐选杰和他的公司使用“麦田乡音”作为抖音账号名称不构成商标侵权。

同时,法院认定被告公司的行为构成不正当竞争,要求其停止涉案不正当竞争行为,并向齐选杰赔偿经济损失18万元。被告公司随后提起上诉,但2025年9月5日,北京知识产权法院作出终审判决:驳回上诉,维持原判。
这一案例对广大创作者具有重要的启示意义。它提醒创作者要提高商标保护意识,在账号运营的初期就考虑对账号名称进行商标注册,避免日后被他人抢注。其次,要注重保留使用证据,以证明对账号名称的在先使用,以备不时之需。