{{ v.name }}
{{ v.cls }}类
{{ v.price }} ¥{{ v.price }}
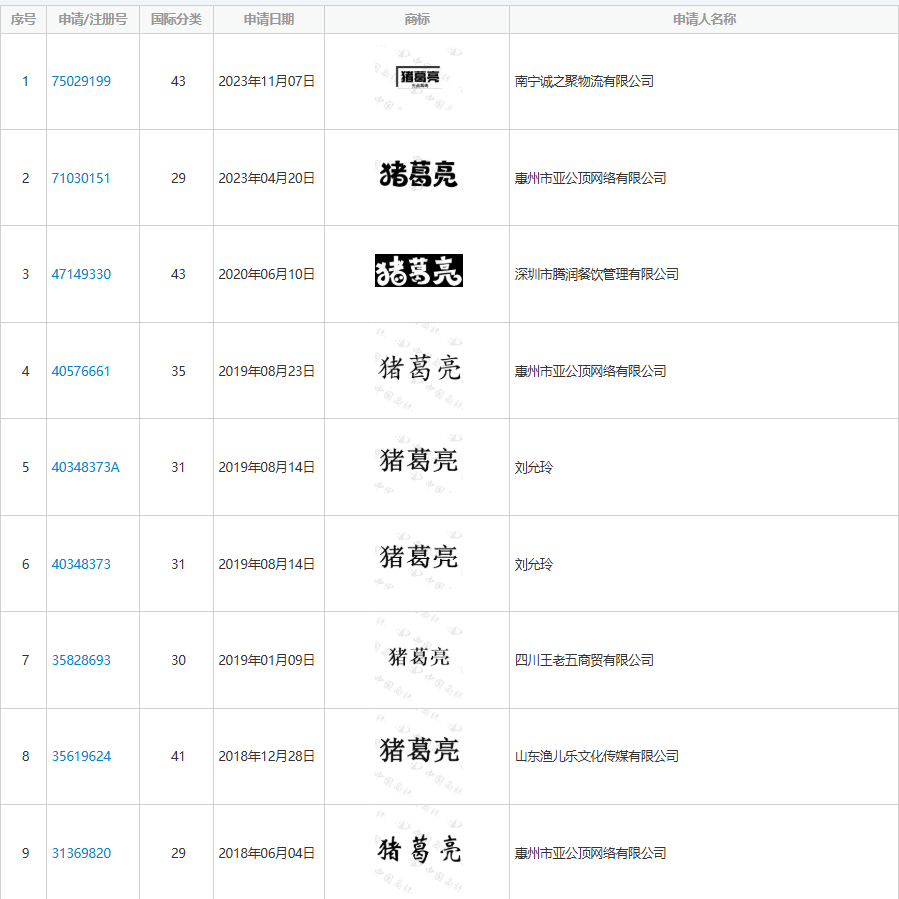
近日,诸葛亮后人要求相关商家撤销“猪葛亮”商标一事引发广泛关注。1月31日,自称诸葛亮后裔的人士发表声明,指出利用“猪”与“诸”谐音注册“猪葛亮”为商标或企业名称,属于攀附历史名人、恶意营销的行为,伤害了诸葛后裔及敬仰诸葛亮的人们的感情。

据国家知识产权局网站以及相关信息显示,全国各地有多个商家以“猪葛亮”为商标,涉及餐饮、物流、商贸、文化传媒等多个领域。此次事件,也引发了公众对历史名人形象保护与商业商标注册边界的讨论。
