{{ v.name }}
{{ v.cls }}类
{{ v.price }} ¥{{ v.price }}
在大众的心目中,广告语就是广告语而已,跟商标是两回事。但是好的广告语朗朗上口,大众辨识度很高。企业若想保护广告语不为他人所用,将广告语申请为商标也许是最好的选择。

如海飞丝的“头屑去无踪 秀发更出众”,康师傅方便面“好吃看得见”,雀巢咖啡“味道好极了”等广告用语,均属于此种情形。

广告语,又称广告词,是指通过各种传播媒体向公众介绍商品或服务内容的一种宣传用语。凭借简短易记、号召力强等特点,成为品牌宣传和营销的一种重要手段。如果能将消费者所熟知的经典广告语注册为商标,对于企业打造和推介品牌,无疑是一个重要推手。这也是企业乐于将广告语申请注册商标的重要原因。
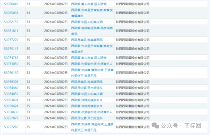
例:西凤酒注册广告语商标,是否符合注册条件?


根据《商标法》规定,商标注册要求该标识具有显著性,一般的广告宣传用语会缺乏显著性,审查员在进行商标审查时,要具体看这个广告语内容是什么,是否能够让消费者将该用语跟商家的服务或商品连接起来。

“累了困了喝东鹏特饮”、美的“有凉感无风感”等广告语商标注册被驳回,到‘Just do it’、‘钻石恒久远,一颗永留传’等商标获准注册。

我们可以看出,企业品牌的广告语能否注册为商标,从根本上还要符合商标法的相关规定,看是否具有显著性。因为大部分广告语都是通俗词语,想发挥区分商品或服务来源的作用必须具有一定的显著性。
广告语注册商标需要符合哪些条件?
商标圈
1、广告语是否具有显著
广告语商标的显著性是获得注册的关键。《商标审查及审理标准》亦认为,表示商品或者服务特点的短语或者句子,普通广告宣传用语属于缺乏显著特征的标志。因此,广告语成为注册商标的比较大的障碍是缺乏先天显著性,即消费者不会将其作为商标予以对待。
如果广告语本身不具备显著性的话,那么可以将有显著性的标识与广告语进行组合申请,这样就会使得该广告语商标整体具备显著性。
2、广告语是否具有独创性
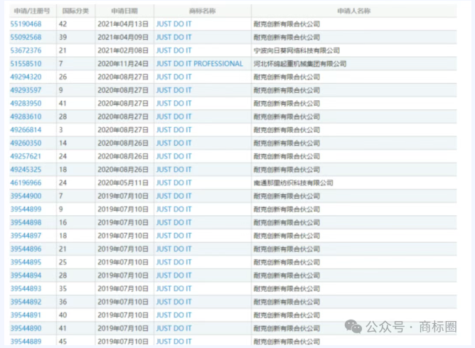
其实,广告语本身也是可以具有独创性的,例如“钻石恒久远,一颗永流传”商标,第3592824号“JUST DO IT”商标,因为广告语本身具有独创性而获准注册。

3、广告语商标是否合法
广告语是否合法指的是申请注册的广告语商标是否符合《商标法》的相关规定,根据《商标法》第十一条相关规定,仅直接表示商品的质量、主要原料、功能、用途、重量、数量及其他特点的商标不予注册。比如我们熟知的“怕上火喝王老吉”等广告语商标。

总之,如果企业一开始就打算将广告语申请商标注册寻求保护,就要严格依照商标注册的要件进行设计,避免选用纯描述性或仅直接表明商品或服务的功能、用途等特点的词汇。其次,还必须追求时效,即在广告发布之初甚至发出之前,及时提交商标注册申请,以防止他人恶意抢注。最后,还需要在广告语的实际使用的过程中,加大宣传力度,尽快使得广告语与企业自身产生一一对应关系,进一步强化其显著性。