{{ v.name }}
{{ v.cls }}类
{{ v.price }} ¥{{ v.price }}
据上游新闻12月25日报道,近日,百度地图申请的12类商标(汽车等运载工具)被商标审查中心驳回,原因是在12类上在先已有一家天津公司注册了“百度”商标。事实上,不止是百度,阿里的“闲鱼”、苏宁的“苏鲜生”近日都因遭遇抢注而被驳回。




百度频频布局交通领域 却在商标上栽跟头
12月10日,百度地图举办生态大会,公布了“新一代人工智能地图”生态全景,开放八大类应用能力,面向智能交通、共享出行、快递物流等多个行业的解决方案;发布行业首个地图开发者发展趋势报告;并且联合九大顶级科研院所和高校,成立智能交通联合实验室。

目前,百度地图日均位置服务请求次数突破1200亿次,日均轨迹里程20亿公里,注册开发者数量达180万,服务超过50万个移动应用,已成为中国最大的智能化位置服务平台之一。
12月18日,百度在长沙举办首届Apollo生态大会。在大会上,百度宣布Apollo形成了三大平台、三重开放的布局,百度将其称为"具有中国特色的自动驾驶之路"。据悉,截至目前,Apollo拥有自动驾驶路测牌照数150张、智能驾驶专利数1237件、测试里程超300万公里、23个城市展开路测、全球开发者36000名、生态合作伙伴177家、开源了56万行代码。
然而,在百度踌躇满志,打算在智能交通领域大展拳脚之时,却遭遇当头棒喝。
2018年09月28日,百度申请第33801247号“百度地图”商标,该商标申请在第12类电动运载工具; 运载工具防盗报警器; 运载工具内装饰品; 运载工具用轮胎; 水上运载工具; 架空运输设备; 小汽车; 遥控运载工具(非玩具); 无人驾驶汽车(自动驾驶汽车); 空中运载工具商品上。
2019年03月12日,该申请被驳回,理由是这件商标与第4026915号“百度BaiDu及图”商标构成近似,而这件带着“百度”的商标申请人并不是百度,而是天津的一家名为天津乔克科技发展有限公司的企业,该企业早在2006年5月21日即成功注册“百度BaiDu及图”的商标。
“由于‘地图’一次作为通用名称,一般是不作为审查对象,因此天津这家企业的‘百度’商标就造成了百度公司‘百度地图’的申请障碍。”业内资深人士表示。
尽管百度随即提出了驳回复审,同时对天津企业“百度”商标提出“撤三申请”,但最终还因棋慢一招,近日,商标局驳回了百度公司的“百度地图”的商标申请
作为一款出行软件,在12类汽车等运载工具上没有通过,显然是不能被接受的,商标布局存在漏洞,终究会是一个隐患。
对此,百度再度以“百度”、“百度地图”、“百度地图DuGIS”等申请第12类商标,最近一次申请在12月9日。
不仅是“百度地图”,成立于2000年的百度,虽说在当年就成功注册了第9类和第42类的“百度”商标,然而,第二次申请“百度”商标已经是2004年,期间4年的“空档”,给大量“有心之人”留下空间,不少“百度”商标都被人抢注。上游新闻·重庆商报记者从中国商标网上查询,含有“百度”的商标申请多达3008条,其中,百度已被人申请在瓷砖等多个类别,但持有人都非百度公司。
“苏鲜生”遇上“苏先生” 苏宁易购6件商标被驳回

在这方面,苏宁和百度可谓心心相惜。苏宁近年来在零售领域的快速布局,可谓是有目共睹。
目前,单以苏宁控股集团有限公司名义申请的商标,目前就有814件之多,并且这个数字还在不断增长。
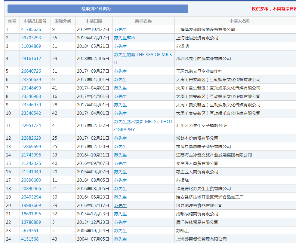
2017年,苏宁易购为布局生鲜零售市场,于同年4月份推出了“Su Fresh苏鲜生”精品超市。2017年11月,苏宁易购申请注册“苏鲜生”商标,可是商标注册之路却并不顺利。苏宁易购至今已申请注册了47枚有关“苏鲜生”的商标,很多已经被核准注册,然而在第32类、第33类、第11类、第21类、第25类、第3类与已在先注册的“苏先生”商标“撞车了”!
这六件商标涉及啤酒饮料、酒、家用电器、家用器具、服装鞋帽和日化用品。商标被驳回后,苏宁易购提出复审申请。然而,复审的结果不理想,这批商标再度被原商评委驳回。
商评委认为,两者都是文字商标,在文字构成、读音等方面相近,使用在同一种或类似商品上,易使相关公众对商品的来源产生混淆、误认,已构成使用在同一种或者类似商品上的近似商标,据此“苏鲜生”的注册申请被驳回。
随后,苏宁易购向北京知识产权法院提起行政诉讼。北京知识产权法院一审驳回了苏宁易购的诉讼请求。苏宁易购不服,随后提起上诉。二审法院认定苏宁易购申请注册的6件“苏鲜生”商标与他人在先申请注册的“苏先生”商标使用在同一种或类似商品上容易导致相关消费者产生混淆、误认,构成使用在同一种或类似商品上的近似商标,据此判决驳回苏宁易购上诉,维持原判。
苏宁“百折不挠”地注册“苏鲜生”背后,是生鲜市场的争夺“白热化”。首次参与苏宁“双11”的家乐福,不少爆款受到消费者欢迎,其中蔬菜、水果、休闲零食最受消费者欢迎。半天售出卡乐比水果麦片3.3万件、德亚全脂牛奶2.3万件、NDP红富士苹果14.4万斤,就很能说明问题。生鲜的“高频消费”、市场下沉能力,使得其成为众多电商巨头争相布局的细分市场。
面对2020年交易总额将达到3480亿元的生鲜电商市场,生鲜电商渗透率也会随之升至24%左右,苏宁如若放弃了上述商标,其在生鲜零售的布局势必受阻。
所以商标保护应该考虑全面布局,而不是眼前需要什么行业就保护什么行业,否则后期被其他人注册在想找回就不是那么容易了?中国淘标网从事商标服务15年,有需要可以咨询我们,
版权著作权登记 转让 交易 变更 授权 软件著作权登记 商标交易 商标转让 商标代理注册 商标变更 商标买卖 商标服务 商标查询 中国商标网 公司注册 会计报税 淘标网
原创版权申请办理,著作版权申请,音乐版权申请办理,原创版权申请,文字著作权申请办理,申请著作权办理,文字著作权申请,字体版权申请,著作权申请,著作版权申请办理,
软件著作权申请办理,申请版权,软件著作权申请,美术著作权申请办理,详情咨询:400 8077 618