{{ v.name }}
{{ v.cls }}类
{{ v.price }} ¥{{ v.price }}
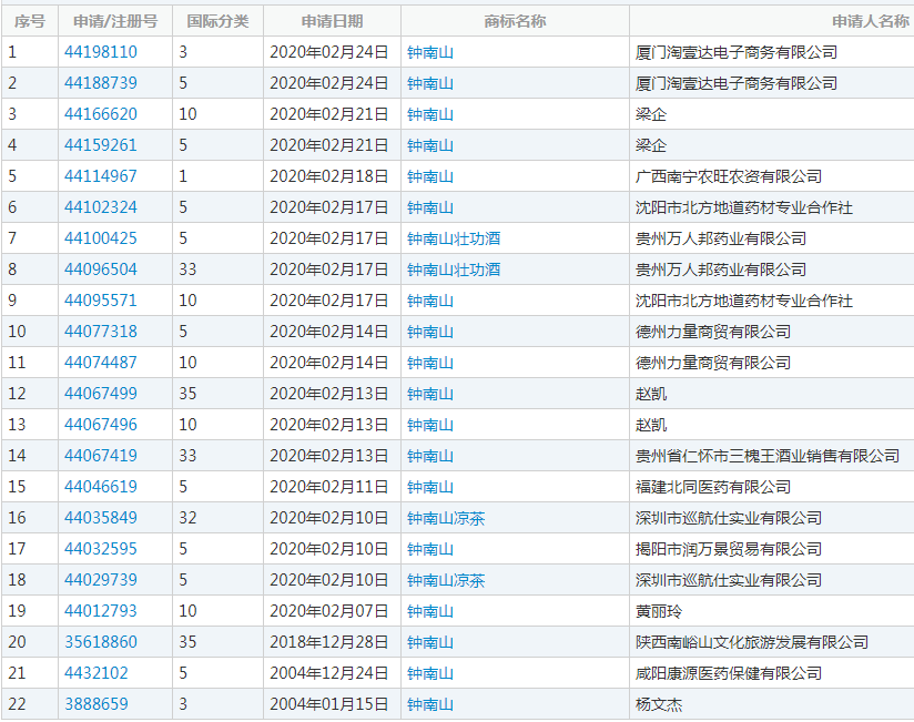
自新冠疫情发生以来,出现多起蹭疫情热度的商标注册申请。“火神山”“雷神山”“零号病人”“瑞德西韦”“李文亮”“方舱”等在疫情中备受关注的词语,纷纷中招。记者在国家知识产权局商标局中国商标网上查询发现,“钟南山凉茶”“钟南山壮功酒”均已被申请,而且凡是和疫情相关的热词,几乎无一幸免。

此前,“火神山”“雷神山”等涉疫情商标被恶意抢注,国家知识产权局发布《关于依法驳回“火神山”等63件与疫情相关具有不良影响商标的通告》,对恶意抢注行为予以警告,有关部门对涉事公司处以顶格10万元的罚款。在李文亮医生去世当天将其名字申请注册为商标的公司,也已撤回相关商标申请,向公众致歉。

两个月来,全国上下共同“战”疫、众志成城,前方有“逆行”战斗在一线的医护人员,后方有无数为抗击疫情默默付出的工作人员。那些想“借疫发财”的公司,你们的良心不会痛吗?那些蹭疫情热度、别有用心的个人,难道你们眼中只有金钱二字,毫无底线和良知,不怕被人耻笑吗?
抢注商标的灰色产业链由来已久,干的是“空手套白狼”的生意。起底这一灰产的敛财套路,以皮包公司和知识产权代理机构相互配合为主,多数抢注者并不想实际使用商标,而是趁权利人没有及时申请,事先抢注,将商标资源囤积起来待价而沽,事后高价转让或发起侵权诉讼获利。
抢注一个商标成本非常低,但转手卖出,一进一出就能“轻松”获利上万元甚至数十万元。某家河南贸易公司竟申请了900多件商标,有业内人士戏称,一家世界500强公司可能都用不了这么多商标。恶意抢注行为,危害正常市场秩序,不仅浪费有限的商标资源,更对权利人的正当权益造成侵害。
在此次疫情中,恶意抢注涉疫情商标,更是触及人心的底线,让大众的情感受到伤害。对恶意抢注造成社会不良影响的事件,理应针对其恶意程度、是否取得违法所得等情况详细调查后,严肃处理,绝不姑息。
抢注“雷神山”“火神山”商标遭顶格处罚:处10万元罚款并被警告
按照2019年新修订的《商标法》规定,不以使用为目的的恶意商标注册申请,应当予以驳回。针对此次疫情,国家知识产权局专门下发了《疫情防控相关商标审查指导意见》,明确与疫情相关人员姓名、含疫情病毒名或疾病名的相关标志、疫情相关药品标志、防护产品相关标志及其他疫情相关标志等商标的审查指导意见,依法从严从快打击与疫情相关的非正常商标注册申请行为。
任何抱着侥幸心理,妄图蹭疫情热度的恶意商标注册申请,不仅注定以失败告终,一旦被置于舆论的风口浪尖,造成不良社会影响,更将受到更严厉的惩处。奉劝那些钻空子抢注的灰产:君子爱财取之有道,再妄想“借疫发财”,徒增笑耳。
版权著作权登记 转让 交易 变更 授权 软件著作权登记 商标交易 商标转让 商标代理注册 商标变更 商标买卖 商标服务 商标查询 中国商标网 公司注册 会计报税 淘标网
原创版权申请办理,著作版权申请,音乐版权申请办理,原创版权申请,文字著作权申请办理,申请著作权办理,文字著作权申请,字体版权申请,著作权申请,著作版权申请办理,
软件著作权申请办理,申请版权,软件著作权申请,美术著作权申请办理,详情咨询:400 8077 618