{{ v.name }}
{{ v.cls }}类
{{ v.price }} ¥{{ v.price }}
近日,根据商评委发布商标驳回复审决定书显示:第33145533号“达摩院”商标被驳回!淘标网小编发现,自达摩院成立以来,阿里也申请了27件商标,不过绝大部分被商标局驳回了。
(达摩院,是马云在2017年成立的一个致力于探索人类科技未来的实验室,注重科技创新,希望能够为全世界20亿人口服务,实现人们的美好愿景。)

驳回理由为:申请商标为“达摩院”,其中“达摩”为佛教用语,用作商标指定使用在保险信息等服务上,易伤害宗教人士感情,从而产生不良的社会影响,已构成《商标法》第十条第一款第(八)项所指的情形。商标审查遵循个案原则,申请人提及的其他商标的注册情况不能成为申请商标获准注册的当然理由。申请人提交的证据不足以证明申请商标已具有可注册性。
而无独有偶,阿里申请的11件“罗汉堂”商标,也被商评委以“容易伤害宗教人士感情”为由驳回。
这边阿里商标被驳回,另一边,美团相关商标也频出问题!
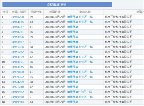
中国裁判文书网在10月22日发布的一则判决显示,美团点评运营主体北京三快科技有限公司(下称“三快科技”)为了争夺“榛果”商标,将国家知识产权局(根据机构改革部署,原国家工商行政管理总局商标局、商标评审委员会的相关职责由国家知识产权局统一行使)告上法庭,一审遭遇败诉。
此外,三快科技为了争夺“榛果”商标,还曾将原国家工商行政管理总局商标评审委员会告上法庭,也以败诉收尾。
受该案影响,2019年10月初,已经运营两年多的 “美团榛果民宿”更名为“美团民宿”。

除了“榛果“商标,美团系多个核心商标被第三方注册。值得一提的是,美团运营主体公司三快科技申请注册“三快”商标,多个细分商标类别被驳回。
受种种限制,大企业商标纷争数量日益增多。根据公开数据显示,仅仅2019年上半年,国家知识产权局共收到各类商标评审案件申请19.8万件。
淘标网小编认为,商标纠纷案不断出现,主要有以下两个原因:
01商标注册成功难度越来越大,商标注册资源缺少,
商标申请中有65%以上的商标是汉字商标,而根据国家标准中共有6763个汉字 ,其中一级汉字3755个,二级汉字3008个。其实我们生活中最常用的也就4000多个汉字。这些中文汉字的不同组合终归是有限的,即使加上数字、字母和图形。有数据为证:
2019年上半年,
我国商标注册申请量为343.8万件,同比下降4.1%;
商标注册量为351.5万件,同比增长67.8%;
我国有效商标注册量为2274.3万件,
平均每5.2个市场主体拥有一件有效商标。
商标的独特性、特殊性、差异性都在影响着商标注册申请。
02商标“抢注”屡见不鲜
商标“抢注”早已成为知识产权保护市场上的“毒瘤”。不仅仅是上文提及的阿里巴巴、美团这样的企业遭遇过商标被“抢注”,基本上有名的企业都遭遇过注入商标被“抢注”,商标被“碰瓷”的现象。而遇到诸如此类的问题,通常处理的方式只有两种,一种是改名字改商标,以新的品牌形象再进入新市场;另一种则是选择支付费用赎回商标,和对方谈判,如果最终的费用能够接受,就付款。
不过,值得高兴地是,今年4月23日,第十三届全国人民代表大会常务委员会第十次会议通过了对《商标法》作出修改的决定,其中对商标恶意注册行为的规制,贯穿于整个商标申请注册和保护程序。修改内容中对恶意注册行为的规制主要包括3个方面内容:
1、增强商标使用义务,增加“不以使用为目的的恶意商标注册申请,应当予以驳回”的规定
2、规范商标代理行为,规定商标代理机构知道或者应当知道委托人存在恶意注册行为的不得接受委托,一经发现,依法追究责任
3、对申请人、商标代理机构的恶意申请商标注册、恶意诉讼行为规定了处罚措施
新政策的出台,某种程度上可以遏制商标“抢注”问题的出现。但商标注册越来越难,确实是不容小觑的现象。商标注册难度越来越大,随之而来的,买卖商标成市场常态。

商标注册是一种商标法律程序。一个商标从申请到核准注册,大约需一年至一年半时间。在商业领域而言,可用于商标注册的资源,包括文字、图形、拼音、英文、数字、三维标志和颜色组合、声音商标,以及上述要素的组合,均可作为商标申请注册。经国家核准注册的商标为“注册商标,受法律保护。”
商标注册可用资源的紧缺、好名词均被注册、常用名词不是被注册或是有近似的注册在先,又或者是国家法律限制注册,如今真实一标难求,企业想注册自己称心如意商标更是难上加难呀。
企业进行商标注册的同时,期间要生产经营、销售产品,同时会作大量的广告宣传,印制产品内外包装,进行渠道建设。所需花费以数十万计算。一旦注册失败,前期企业付出、和市场对品牌的认可都将白费,由此带给企业的损失不可估量。更甚至,也许一年后等到的就是驳回通知书,错过最佳商业时机。在诸如此类的影响下,商标买卖受到市场的认可。
商标是一种无形资产,在法律允许的范围之内,商标权人可根据自身意志转让商标。可以转让的商标分为两种,其一是已经得到商标局核准的注册商标,其二是商标注册申请,即尚未核准注册的商标。企业可以根据自身需要,转让或者购买适合以及需要的商标,以便促进企业经济活动的良好展开。
版权著作权登记 转让 交易 变更 授权 软件著作权登记 商标交易 商标转让 商标代理注册 商标变更 商标买卖 商标服务 商标查询 中国商标网 公司注册 会计报税 淘标网
原创版权申请办理,著作版权申请,音乐版权申请办理,原创版权申请,文字著作权申请办理,申请著作权办理,文字著作权申请,字体版权申请,著作权申请,著作版权申请办理,
软件著作权申请办理,申请版权,软件著作权申请,美术著作权申请办理,详情咨询:400 8077 618