微信商标护城河保卫战,腾讯从未松懈

阅读:2322 2020-06-25 08:46:14

自2011年微信诞生以来,近十年的时间,围绕微信相关的商标保护工作,腾讯知识产权保护团队的步伐从未停过。

2011年1月21日,微信社交程序1.0版诞生;

2011年1月24日,腾讯提出“微信”商标的注册申请;

2018年2月,微信月活登录量超过10亿大关;

2020年6月16日,微信最新版本推出,最大亮点是IOS系统用户也可以修改微信号了。

自2011年微信诞生以来,近十年的时间,围绕微信相关的商标保护工作,腾讯知识产权保护团队的步伐从未停过。

恶意注册层出不穷

腾讯公司打造的社交软件——微信,凭借长期深耕逐渐占据了移动社交市场的头部地位,目前用户规模已达到11个亿。

腾讯在微信上已搭建起移动支付、微信公众号、电商、金融、零售、生活等服务,服务涉及衣食住行各个方面。据艾媒咨询分析,微信是中国网民最常使用的移动社交产品。

微信作为头部社交平台,无论在用户规模还是商业化能力方面都有着其他社交产品无法匹敌的优势。

(图源:艾媒数据中心)


微信知名度广,其商标也具有极大的商业价值与品牌效益,或是利益所驱,部分企业及自然人在“违法”的边缘不断试探,企图搭上“微信”这辆“豪车”。

这一次,“搭便车”的“主角”是自然人刘金冬。

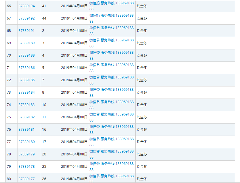
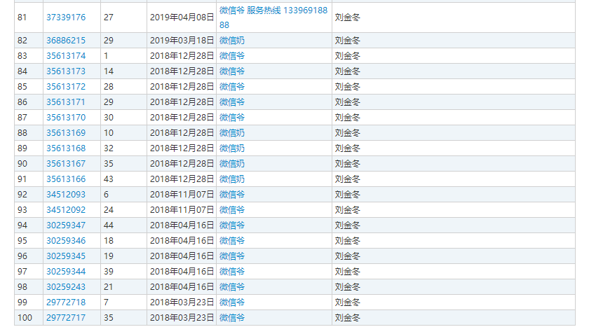
2017年起,刘金冬陆续申请注册了116件“微信爷”“微信奶”“微信妹”相关商标。而刘金冬于2017年7月31日申请注册的第一批8件“微信爷”商标时,曾被腾讯公司提起异议。

但在异议的过程中,刘金冬又陆续申请了近百件“微信奶”“微信妹”等商标。

(图源:中国淘标网)


据中国商标网公布的12份异议审查决定书显示,国家知识产权局决定不予注册的理由均涉及“双方商标已构成使用于类似商品上的近似商标,依据《商标法》第三十条规定对异议人在先商标权予以保护。”

(图源:中国淘标网)


目前,除2019年12月申请的13件“微信妹”商标处于等待实质审查阶段外,刘金冬申请的“微信爷”“微信奶”等百余件相关商标已在异议程序中被不予注册或被商标局直接驳回。

事实上,微信遭遇商标“搭便车”的事件频繁发生。

2016年5月30日,深圳灿祺鞋服有限公司申请注册第19956734号“微信之家The home of WeChat”商标,该商标于2018年10月6日获得初审公告。在异议期限之内,腾讯知识产权保护团队迅速提起了异议,2020年3月,商标局对该商标做出不予注册的决定。

(图源:中国淘标网)


无独有偶,2019年4月至5月,易介集团北京有限公司(下称“易介公司”)在第9类、第35类、第36类、第38类、第41类、第42类、第45类共计7个类别的商品和服务上申请注册了31件“微信神盾”“微信”“微信通”“中律微信”等商标,这些商标目前也均处于被驳回状态。

(图源:中国淘标网)


值得一提的是,易介公司曾于2012年7月2日在第45类服务上申请了第11148918号“微信”商标,该商标初步审定公告后被腾讯公司提出异议。

据(2016)京73行初6810号行政判决书显示,易介公司申请注册该商标时,还是商标局备案的代理机构,它于2015年12月14日对“商标代理”经营范围进行了变更。针对该商标,商标局与北京知识产权法院均认定该商标的申请注册违反了《商标法》第十九条第四款“商标代理机构除对其代理服务申请商标注册外,不得申请注册其他商标”的规定。但易介公司在其商标被生效判决确定违法后,并没有停止侵权,反而变本加厉的在多个类别的商品和服务上反复多次复制、摹仿微信商标。其行为明显具有傍名牌、蹭商誉的恶意。

另外,据天眼查信息,易介公司的实际控股人是叶旭健,其旗下关联公司还有国域知识产权有限公司和易介知识产权有限公司,而上述商标的代理公司正是国域知识产权有限公司,易介知识产权有限公司目前是经商标局备案的商标代理机构。

可以说,易介公司是叶旭健抢注商标的载体。目前,该商标还有4506群组服务,腾讯公司已经对其提起无效宣告。

(图源:中国淘标网)


笔者以“微信”“商标”“腾讯科技(深圳)有限公司”为关键词在知产宝数据库检索,目前数据库共收录111件相关案件,其中71件为商标案件,腾讯作为原告/上诉方的案件为77件。

(图源:淘标网)


微信商标保护有多难?

“微信”本身具有时代特征,在某种程度上改变了人们的生活方式和社会运行方式。维护其商标专用权,不仅是对腾讯公司自身利益的保护,也是对相关公众利益的维护。

截至目前,腾讯已申请注册1300余件含“微信”文字的相关商标,其中通讯服务相关的第38类已注册110件。而中国商标网数据显示,含“微信”文字商标多达1744件,其中567件为其他自然人或企业申请注册的,其状态大多为无效、异议、撤销、诉讼。在防止他人注册“微信”相关商标方面,腾讯知识产权保护团队可以说是不遗余力、全面阻击。

据中国商标网信息显示,微信于2011年1月上线,同月腾讯公司便申请注册了计算机软件相关的第9类和即时通讯相关的第38类“微信”商标。2012年,微信用户破1亿,腾讯公司又于同年申请注册了第2类、第3类、第5类等19件“微信”商标。

此后,针对微信后期上线的产品,例如“微信扫一扫”“微信摇一摇”“微信红包”“微信小程序”等,腾讯公司均在其相关类别与领域进行了商标注册申请,直至全类防御保护。

(图源:中国淘标网)


2016年12月,商标局首次认定“微信及图”商标为使用在第9类计算机软件等商品上的驰名商标。

2018年12月,北京知识产权法院在(2017)京73民初1668号判决中也提到第9085979号“微信及图”商标及其他4件“微信”相关商标均构成第9类“计算机软件(已录制)、计算机程序(可下载软件)”等商品及第38类“信息传送”等服务上的驰名商标。

“微信”驰名商标的认定,进一步验证了“微信”品牌的市场价值。

可以说,在知识产权保护布局方面,腾讯知识产权保护团队已搭建起全方位护城河,但全面防护仍难防“有心人”。诸如上文的恶意注册行为,无疑是耗费了企业更多的知识产权保护成本,同时也构成对司法资源的大量损耗。

针对恶意注册,专家如是说

2019年4月23日,全国人大常委会对商标法做出了第四次修改,修改后的商标法已经于2019年11月1日实施,新商标法在规制非正常商标注册行为做出了更严格规定。一是增加了“不以使用为目的的恶意商标注册申请,应当予以驳回”,二是增加了商标代理机构对“不以使用为目的的恶意商标注册申请行为”的合理注意和审查义务。新增内容对恶意抢注、囤积商标明确“亮剑”。

另外,新商标法还增加了对恶意申请商标注册行为的处罚方式,即对恶意申请注册商标的,根据情节给予警告、罚款等行政处罚;对于恶意提起商标诉讼的,由人民法院给予行政处罚。处罚机制的完善必然会增加恶意抢注行为的违法成本,从而有利于减少抢注行为人的恶意注册行为。

2020年4月21日,最高人民法院发布《关于全面加强知识产权司法保护的意见》明确了恶意申请商标不予保护。另外,在加强商业标志权益保护方面,《意见》要求,综合考虑商标标志的近似程度、商品的类似程度、请求保护商标的显著性和知名度等因素,依法裁判侵害商标权案件和商标授权确权案件,增强商标标志的识别度和区分度。充分运用法律规则,在法律赋予的裁量空间内作出有效规制恶意申请注册商标行为的解释,促进商标申请注册秩序正常化和规范化。加强驰名商标保护,结合众所周知的驰名事实,依法减轻商标权人对于商标驰名的举证负担。

对此,中华商标协会副秘书长臧宝清也表示,在当前大力打击恶意注册的政策环境下,微信被恶意注册的类似案件不光是法律问题,也是社会问题,应形成各方面共治的局面。

“纵观近几年,个人或企业恶意注册商标现象频发,究其原因是多方面的。”其中包括社会整体的诚信环境不佳,部分市场主体缺乏基本的诚实守信、规范经营的意识;理论和实务中对商标功能和商标注册制度的作用在认识上存在误区,助⻓了抢注、囤积等现象;商标注册规费一再降低、恶意注册成本过低;资本介入,恶意注册专业化、产业化;法律规定有漏洞、规制恶意注册手段不足等。

那么,企业如何才能躲过“商标流氓”?臧宝清认为,首先要事先防范,对与自身经营关系较为密切的商品或者服务类别提前布局,做好必要的注册;其次要加强监控,充分利用好法律异议、无效、撤销、诉讼等法律程序;第三是强力反击,用好用足现行的制止恶意注册的法律条款。

以驰名商标制度为例,实务中行政机关和司法机关在特定条件下对驰名商标提供反淡化保护,用好这一制度,可以一定程度上减轻权利人大量进行防御性注册的压力。

此外,商标在其他类别被注册,对企业正常经营形成阻碍,企业被迫进行防御注册或者被动维权,在人力、财力方面大量投入,也将造成不必要的浪费。对于高知名度商标来说,恶意注册有可能造成商标淡化,给权利人带来损失。

随着社会知识产权意识增强和市场经济的繁荣发展,商标注册申请量逐年增⻓,商标确权案件量大和审查力量不足的矛盾比较突出,恶意注册现象更是加剧了这种趋势,审查机关不得不花费相当力量对恶意注册进行防范、甄别、制止、打击,浪费了有限的审查资源,也破坏了正常的工作秩序。

在企业与审查机关的双重期许背景下,我们亦期待商标保护制度与审查机制日渐完善。

版权著作权登记  转让  交易 变更 授权 软件著作权登记 商标交易 商标转让 商标代理注册 商标变更 商标买卖 商标服务 商标查询 中国商标网  公司注册 会计报税 淘标网

原创版权申请办理,著作版权申请,音乐版权申请办理,原创版权申请,文字著作权申请办理,申请著作权办理,文字著作权申请,字体版权申请,著作权申请,著作版权申请办理,

软件著作权申请办理,申请版权,软件著作权申请,美术著作权申请办理,详情咨询:400 8077 618 

相关文章
{{ v.title }}
{{ v.description||(cleanHtml(v.content)).substr(0,100)+'···' }}
你可能感兴趣
推荐阅读 更多>
推荐商标

{{ v.name }}

{{ v.cls }}类

立即购买 联系客服