{{ v.name }}
{{ v.cls }}类
{{ v.price }} ¥{{ v.price }}
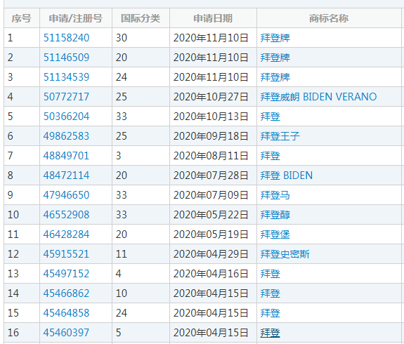
美国大选刚刚出结果没多久,“特朗普—拜登”的商标已经有人下手了。

根据求标网了解到,“特朗普—拜登”目前已被注册商标,申请人为开封全有吉农资有限公司,当然该商标目前状态为等待实质审查。据介绍,该公司主要代理的是茅台酒,经营范围广泛。中国商标网数据显示含有“特朗普”的商标共154个,多数商标处于无效或者实质审查阶段,而含有“拜登”的商标共99个,多数商标却已经审核通过,这是为什么呢?

中国淘标网 版权著作权登记 转让 交易 变更 授权 软件著作权登记 商标交易 商标转让 商标代理注册 商标变更 商标买卖 商标服务 商标查询 中国商标网 公司注册 会计报税 淘标网
原创版权申请办理,著作版权申请,音乐版权申请办理,原创版权申请,文字著作权申请办理,申请著作权办理,文字著作权申请,字体版权申请,著作权申请,著作版权申请办理,
软件著作权申请办理,申请版权,软件著作权申请,美术著作权申请办理,详情咨询:400 8077 618