“胖都来”撤回,9个“肥都来”来了,更名 盈都来

阅读:96832 2025-05-29 10:04:23 来源:知产库 作者:淘标
一、5月27日,最新的第1937期商标公告,刊登了系列商标注册申请撤回公告。
原来,5月13日,浙江海宁原“胖都来”商场的关联主体浙江艺淘公司申请的9个“胖都来”商标注册申请,全部向国家知识产权局申请撤回。
二、5月19日,原“胖都来”商场的经营主体,已向海宁市市场监督管理局申请了变更企业登记,将浙江胖都来商业管理有限公司,更名为浙江盈都来商业管理有限公司。
三、5月20日,原“胖都来”商场的招牌,已更改为“盈都来”。有记者问及对此前因取名“胖都来”引发舆论风波一事是否后悔时,董事长都建明回应道:“这有啥后悔的?”
胖都来改名为“盈都来”
四、撤回注册申请的9个“胖都来”商标,分别涉及第18、19、20、21、24、25、26、27、35类。
举例第35类:
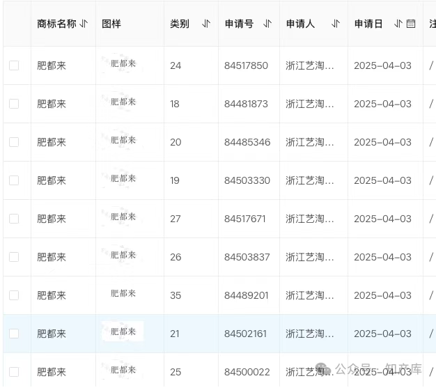
五、在此之前,4月3日,还是第18、19、20、21、24、25、26、27、35类,“肥都来”商标,已经提交注册申请。
图片
“肥都来”商标的申请人,还是原“胖都来”商场的关联主体浙江艺淘公司。
举例第35类:
因此,艺淘公司名下,除了撤回的“胖都来”系列九个商标,还有上述九个类别的“盈都来”、“淘都来”、“肥都来”商标。申请这么多系列商标,看起来“盈都来”的商标意识很强嘛!
再有争议,老板还有选择~
图片
六、海宁的“胖都来”改名了,然而,自3月底爆出“胖东来”近似名称的舆情以来,其他地方的“胖都来”商场、超市、公司不断涌现。
4月14日,包头成立了“胖都来”超市:
4月18日,徐州成立了“胖都来”商贸公司:
4月22日,广州成立“胖都来”箱包公司:
......都要每个地方的市监部门审批监管防范吗,防不住,根本防不住~
发现以后都要一家一家改名吗,
改不完,根本改不完~
相关文章
{{ v.title }}
{{ v.description||(cleanHtml(v.content)).substr(0,100)+'···' }}
你可能感兴趣
推荐阅读 更多>
推荐商标

{{ v.name }}

{{ v.cls }}类

立即购买 联系客服