{{ v.name }}
{{ v.cls }}类
{{ v.price }} ¥{{ v.price }}
喜茶(HEYTEA),原名皇茶ROYALTEA,在热闹非凡的茶饮市场中,喜茶凭借独特的口味和时尚的品牌形象,在消费者心中打下了一片天地,门店开遍大街小巷。

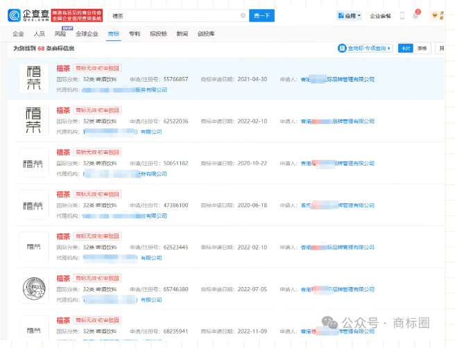
2018年,香港一家公司在内地申请“禧茶”商标,被国知局驳回。但它没有就此罢休,同年在香港注册了第32类“禧茶”商标。随后,便开启了一系列在内地市场的推广销售活动。

从2021年开始,香港公司进行品牌推广并委托生产,通过代理商大量销售“禧茶”瓶装饮料。到了2023年,在淘宝、京东等电商平台上,多种口味的“禧茶”网红饮料开始售卖,各大招商网站上也出现了“禧茶”品牌加盟项目的宣传。

喜茶看到“禧茶”的这些动作,自然坐不住了。在2024年3月,以侵害商标权为由,将香港公司、深圳公司以及负责生产的公司告上法庭,请求法院判令被告停止商标侵权行为,并要求赔偿经济损失共计100万元。
喜茶认为,“禧茶”在名称上与自己极为相似,容易误导消费者,损害自己的品牌利益,必须要通过法律手段来捍卫自身权益。

被告坚称,“禧茶”与“喜茶”存在明显区别,不构成商标侵权。他们强调,“禧茶”在香港已经注册,拥有合法的商标权,并且“喜茶”的商标核定使用在第43类茶馆、餐厅等服务上,而“禧茶”产品属于第32类瓶装饮料,两者在商品类型、行业领域等多方面都存在很大差异,不属于类似商品或服务,自己对“禧茶”商标的使用是完全合法的。
但喜茶可不同意这种说法。他们拿出了一系列证据力证“禧茶”的侵权行为:从商标本身来看,“喜茶”与“禧茶”读音完全相同,字形上整体结构相似,视觉上差异极小,普通人稍不注意,就会把它们搞混,也很容易让消费者产生联想,误以为“禧茶”和“喜茶”之间存在某种关联。
虽然二者分属不同类别,但在实际市场中,它们的消费群体高度重合。而且喜茶不仅有线下门店,还通过外卖平台、电商平台等销售产品,其销售路径与瓶装饮料的销售渠道逐渐趋同。在这种情况下,“禧茶”的出现,极有可能让消费者对商品来源产生误认。
经过一番深入的审理,法院最终做出判决:认定“禧茶”构成商标侵权,被告需停止侵权行为,并赔偿喜茶经济损失共计25万元。
喜茶与禧茶的这场商标之争,给所有企业都上了宝贵的一课。在当今竞争激烈的商业环境下,企业一定要有强烈的品牌保护意识,把商标保护当作企业发展的重要战略。在品牌创立之初,就要尽早进行商标注册,不仅要在核心类别注册,还要在关联类别进行防御性注册。只有这样,企业才能在市场竞争中稳扎稳打,让自己的品牌茁壮成长。