{{ v.name }}
{{ v.cls }}类
{{ v.price }} ¥{{ v.price }}
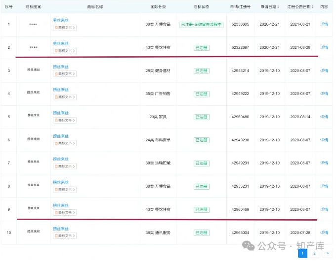
一、先是,捞丝来丝餐饮公司的关联主体桂林米粉公司申请了十二件捞丝来丝、劳丝来丝系列商标。

二、捞丝来丝餐饮公司+桂林米粉公司

2022年6月,唐某登记的捞丝来丝餐饮公司注销。

2024年3月,桂林米粉公司在两个案件中被列为失信被执行人,执行金额100万+。
三、劳斯莱斯提起无效,引证二十九个商标
2024年5月,劳斯莱斯公司针对桂林米粉公司名下十二件捞丝来丝、劳丝来丝系列商标,分别提起无效宣告。
劳斯莱斯提起无效宣告,引证了在先注册的二十九个引证商标:
1.第13443305号“ROLLS-ROYCE CORNICHE”商标、
2.第13261675号“劳斯莱斯幻影”商标、
3.第4979295号“劳斯莱斯”商标、
4.利害关系人罗尔斯-罗伊斯股份有限公司在先注册的第29270号“ROLLS-ROYCE”商标、
5.第29272号“ROLLS-ROYCE”商标、
6.第29273号“RR”商标、
7.第29275号“RR”商标、
8.第770339号“ROLLS ROYCE RR及图”商标、
9.第850545号“ROLLS ROYCE RR及图”商标、
10.第770486号“ROLLS-ROYCE”商标、
11.第770487号“ROLLS ROYCE RR及图”商标、
12.第136516号“ROLLS ROYCE RR及图”商标、
13.第1585900号“ROLLS ROYCE RR及图”商标、
14.第1585898号“RR”商标、
15.第1585899号“ROLLS-ROYCE”商标、
16.第1603808号“劳斯莱斯”商标、
17.第1572177号“劳斯莱斯”商标、
18.第1917675号“劳斯莱斯”商标、
19.第1607824号“劳斯莱斯”商标、
20.第1601715号“劳斯莱斯”商标、
21.第18695110号“ROLLS-ROYCE”商标(第12、28、35、36、37、39、41商品及服务上)、
22.第18695109号“RR”商标(第12、28、35、36、37、39、41商品及服务上)、
23.第18695108号“ROLLS ROYCE RR及图”商标(第12、28、35、36、37、39、41商品及服务上)、
24.利害关系人宝马股份公司在先注册的第862358号图形商标、
25.第867286号图形商标、
26.第847947号图形商标、
27.第8034927号图形商标、
28.国际注册第818859号图形商标、
29.国际注册第1167429号“Spirit of Ecstasy”商标(第12、14、18、21、25类商品上)
劳斯莱斯认为,捞丝来丝、劳丝来丝系列商标与上述二十九件引证商标构成使用在类似商品/服务上的近似商标。
四、劳斯莱斯的证据
1、劳斯莱斯、罗尔斯—罗伊斯公共有限公司及宝马股份公司名下的商标信息;
2、劳斯莱斯与罗尔斯—罗伊斯公共有限公司、宝马股份公司的关系证明资料;
3、经公证的宝马股份公司、劳斯莱斯汽车有限公司中国官网信息;
4、网络上关于“RR及图”、“劳斯莱斯”汽车商品的报道资料;
5、国家图书馆的检索资料 ;
6、劳斯莱斯参加车展及网站上关于劳斯莱斯参展的介绍资料;
7、劳斯莱斯汽车的销售资料;
8、商标无效宣告请求裁定书、“劳斯莱斯”、“飞天女神”的搜索结果公证资料;
9、全国重点商标保护名录等相关法律书籍节选及报纸资料;
10、劳斯莱斯商标受保护的记录资料;
11、劳斯莱斯关联公司宝马(中国)汽车贸易有限公司参展资料及媒体报道资料;
12、桂林米粉公司抄袭商标列表信息等。
五、劳斯莱斯的其他无效宣告请求
劳斯莱斯认为,“劳斯莱斯”等商标在“汽车”领域具有极高知名度和影响力,已被认定为使用在“汽车”等商品上的驰名商标。捞丝来丝、劳丝来丝系列商标构成对申请人驰名商标的复制、摹仿和翻译。
桂林米粉公司具有明显的恶意性,不是出于正常的商业使用目的,违反了诚实信用的原则,捞丝来丝、劳丝来丝系列商标的申请和注册容易使消费者对商品的来源产生误认,易造成不良影响等。
综上,劳斯莱斯依据《商标法》第四条、第七条、第十条第一款第(七)项、第十三条、第三十条、第四十四条第一款的规定,请求对捞丝来丝、劳丝来丝系列商标的注册予以无效宣告,并请求认定引证商标三、五、七、九、二十四、二十八为汽车相关商品上的驰名商标。
六、桂林米粉公司没有答辩
根据本文前述第二部分,捞丝来丝公司注销和桂林米粉公司失信被执行人情况的展示(铺垫),劳斯莱斯没有遇到抵抗。
因为,桂林米粉公司在“规定期限内未予答辩”。
七、劳斯莱斯二十九个引证商标均不近似
国知局认为,捞丝来丝、劳丝来丝系列商标与二十九个引证商标,均未构成《商标法》第三十条所指的使用在类似商品或服务上的近似商标。
国知局认为劳斯莱斯提交的在案证据虽能证明其“劳斯莱斯”系列商标在汽车等商品上具有较高的知名度,但捞丝来丝核定使用的餐厅等服务与劳斯莱斯据以知名的汽车等商品在功能、用途、销售渠道等方面具有较大差异,关联性也较弱,相关公众施以一般注意力不会认为冠以捞丝来丝商品由申劳斯莱斯提供,或认为被申请人与劳斯莱斯之间存在某种联系。故捞丝来丝不会误导公众,致使劳斯莱斯利益受到损害。
所以,不能据此认定捞丝来丝的注册申请构成《商标法》第十三条之情形,不能据此认定捞丝来丝侵害劳斯莱斯驰名商标~
总之,十动然拒
八、十拒然动
国知局拒绝了劳斯莱斯的二十九件引证商标,但是,根据劳斯莱斯提交的证据可知,劳斯莱斯在汽车等商品上已具有较高知名度,捞丝来丝、劳丝来丝系列商标与“劳斯莱斯”系列商标高度相近,桂林米粉公司未对上述商标创意来源及使用意图进行合理解释。
国知局认为,桂林米粉公司反复围绕劳斯莱斯公司商标注册的行为具有明显的复制、摹仿他人商标的恶意,违反了诚实信用原则,扰乱了正常的商标注册、使用和管理秩序。

近日,国知局作出商评字[2025]第0000155989号、商评字[2025]第0000155999号等系列十二件无效宣告裁定书。
认定捞丝来丝、劳丝来丝系列商标的注册申请已构成《商标法》第44条1款所指“以其他不正当手段取得注册”之情形,予以无效宣告。
二十九个拒绝,然后一个感动,似乎也够了。